计算机 络 络接口,一种计算机 络接口的制作方法

ecd5fdfe1f0941200cae886937303780.gif

本实用新型涉及计算机设备领域,具体为一种计算机 络接口。

背景技术:

计算机接口是目前电子白板与电脑连接常见的接口,接口分为硬件类接口和软件类接口两类。接口指定必须由类提供的成员或实现它的其他接口。与类相似,接口可以包含方法、属性、索引器和事件作为成员,计算机常见的接口有并行接口和串行接口。

如今市场上所使用的计算机接口基本上都是开放式的,在接口不使用时很容易堆积灰尘,灰尘会阻碍连接线与计算机的连接,且在连接线通过接口与计算机连接后,无法使连接线能够稳定的固定,外界物体易与连接线头碰撞,导致连接线脱落。

技术实现要素:

本实用新型的目的在于:为了解决灰尘堆积在接口内、连接线易与外界接触而脱落的问题,提供一种计算机 络接口。

为实现上述目的,本实用新型提供如下技术方案:一种计算机 络接口,包括接口本体,所述接口本体的上方与下方均开设有滑轨,所述接口本体的外侧设置有多组盖板,所述盖板的数量为两组,且两组所述盖板内部设置有开口,所述盖板的一端开设有夹块,所述夹块的一侧连接有弹簧卡条,所述弹簧卡条贯穿盖板的外侧并延伸至盖板的内部连接有弹簧,一组所述盖板的顶端连接有插条,所述插条的内部设置有多组连接卡槽,所述插条的一侧开设有斜面,一组所述盖板的顶端开设有与插条相匹配的卡锁,所述卡锁的内部设置有固定条,所述固定条的底端设置有多组与连接卡槽相匹配的连接柱,所述固定条的一侧连接有拨板,所述拨板贯穿卡锁的内壁并延伸至卡锁的外侧。

优选地,所述盖板的一端位于开口的上方与下方设置有滑槽,所述盖板通过滑槽与滑轨滑动连接。

优选地,两组所述滑轨之间设置有多组挡板,所述挡板的数量为两组,两组所述挡板关于接口本体对称设置。

优选地,所述夹块的外壁设置有软垫,所述软垫的一侧贯穿夹块并延伸至夹块的内部。

优选地,所述夹块通过弹簧卡条与弹簧固定连接,所述滑轨的内部设置有空腔,所述夹块通过空腔与盖板滑动连接。

优选地,所述卡锁的一侧开设有开槽,所述插条通过开槽与卡锁卡合连接。

优选地,所述连接柱的底端设置有斜面相匹配的切面,所述卡锁的外壁开设有凹槽,所述拨板通过凹槽与卡锁滑动连接。

与现有技术相比,本实用新型的有益效果是:

1.本实用新型通过设置的滑轨、盖板、接口本体、插条以及卡锁,在不使用接口时,将两组盖板连接并通过滑轨移动至接口本体的外侧,随后将插条插入到卡锁内,通过斜面将连接柱与固定条向上推动,直至连接柱与连接卡槽卡合,使两组盖板不在分离,使两组盖板将接口本体与外界隔离,防止灰尘进入到接口本体内,有效解决了灰尘堆积在接口内的问题;

2.通过设置的盖板、夹块、橡胶垫、弹簧卡条以及弹簧,在连接线头插入到接口本体后,将两组盖板卡合在连接线头的两侧,通过夹块与连接线接触,推动两组盖板,夹块紧贴连接线,夹块通过弹簧卡条挤压弹簧,使弹簧压缩,夹块在盖板内滑动,直至两组盖板贴合,随后通过插条与卡锁将两组盖板连接,使盖板对连接线头进行保护与固定,防止外界与连接线碰撞而导致连接线头从接口本体内脱落,提高了使用效率,有效解决了连接线易与外界接触而脱落的问题。

附图说明

图1为本实用新型的结构示意图;

图2为本实用新型的剖面结构示意图;

图3为本实用新型的弹簧结构示意图;

图4为本实用新型的卡锁插条连接结构示意图;

图5为本实用新型的卡锁内部结构示意图;

图6为本实用新型的插条结构示意图。

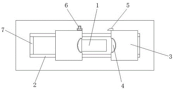
图中:1、接口本体;2、滑轨;3、盖板;4、夹块;5、插条;6、卡锁;7、挡板;8、软垫;9、弹簧卡条;10、弹簧;11、连接柱;12、连接卡槽;13、拨板;14、固定条;15、斜面。

具体实施方式

下面将结合本实用新型实施例中的附图,对本实用新型实施例中的技术方案进行清楚、完整地描述,显然,所描述的实施例仅仅是本实用新型一部分实施例,而不是全部的实施例。基于本实用新型中的实施例,本领域普通技术人员在没有做出创造性劳动前提下所获得的所有其他实施例,都属于本实用新型保护的范围。

请参阅图1-6,一种计算机 络接口,包括接口本体1,接口本体1的上方与下方均开设有滑轨2,接口本体1的外侧设置有多组盖板3,盖板3的数量为两组,且两组盖板3内部设置有开口,盖板3的一端开设有夹块4,夹块4的一侧连接有弹簧卡条9,弹簧卡条9贯穿盖板3的外侧并延伸至盖板3的内部连接有弹簧10,一组盖板3的顶端连接有插条5,插条5的内部设置有多组连接卡槽12,插条5的一侧开设有斜面15,一组盖板3的顶端开设有与插条5相匹配的卡锁6,卡锁6的内部设置有固定条14,固定条14的底端设置有多组与连接卡槽12相匹配的连接柱11,固定条14的一侧连接有拨板13,拨板13贯穿卡锁6的内壁并延伸至卡锁6的外侧。

请着重参阅图1与图2,盖板3的一端位于开口的上方与下方设置有滑槽,盖板3通过滑槽与滑轨2滑动连接,通过滑槽能够使盖板3进行移动,使其能够打开或者关闭,方便连接线头与接口本体1连接。

请着重参阅图1,两组滑轨2之间设置有多组挡板7,挡板7的数量为两组,两组挡板7关于接口本体1对称设置,挡板7能够阻止盖板3继续移动,防止盖板3从滑轨2上脱落。

请着重参阅图3,夹块4的外壁设置有软垫8,软垫8的一侧贯穿夹块4并延伸至夹块4的内部,软垫8能够减少夹块4对连接线的挤压,减少对连接线的损伤。

请着重参阅图3,夹块4通过弹簧卡条9与弹簧10固定连接,滑轨2的内部设置有空腔,夹块4通过空腔与盖板3滑动连接,在对连接线进行固定时,夹块4一侧贴合在连接线外侧,另一侧通过弹簧卡条9挤压弹簧10,使弹簧10压缩。

请着重参阅图4,卡锁6的一侧开设有开槽,插条5通过开槽与卡锁6卡合连接,通过插条5与卡锁6能够将两组盖板3固定在一起。

请着重参阅图5与图6,连接柱11的底端设置有斜面15相匹配的切面,卡锁6的外壁开设有凹槽,拨板13通过凹槽与卡锁6滑动连接,通过斜面15能够将连接柱11顶起,使连接柱11能够插入到连接卡槽12内,通过拨板13能够使连接柱11与连接卡槽12分离,方便将两组盖板3打开。

工作原理:在不使用接口时,将两组盖板3连接并通过滑轨2移动至接口本体1的外侧,随后将插条5插入到卡锁6内,通过斜面15将连接柱11与固定条14向上推动,直至连接柱11与连接卡槽12卡合,使两组盖板3不在分离,使两组盖板3将接口本体1与外界隔离,防止灰尘进入到接口本体1内,防止灰尘影响接口的正常使用,当需要使用接口时,用手推动拨板13,使连接柱11从连接卡槽12中脱出,随后推动两组盖板3,使两组盖板3分离并将接口本体1暴露,将连接线头插入到接口本体1内,将两组盖板3卡合在连接线头的两侧,通过夹块4与连接线接触,推动两组盖板3,夹块4紧贴连接线,夹块4通过弹簧卡条9挤压弹簧10,使弹簧10压缩,夹块4在盖板3内滑动,直至两组盖板3贴合,随后通过插条5与卡锁6将两组盖板连接,使盖板3对连接线头进行保护与固定,防止外界与连接线碰撞而导致连接线头从接口本体1内脱落,提高了使用效率。

对于本领域技术人员而言,显然本实用新型不限于上述示范性实施例的细节,而且在不背离本实用新型的精神或基本特征的情况下,能够以其他的具体形式实现本实用新型。因此,无论从哪一点来看,均应将实施例看作是示范性的,而且是非限制性的,本实用新型的范围由所附权利要求而不是上述说明限定,因此旨在将落在权利要求的等同要件的含义和范围内的所有变化囊括在本实用新型内。不应将权利要求中的任何附图标记视为限制所涉及的权利要求。

文章知识点与官方知识档案匹配,可进一步学习相关知识 络技能树认识身边的计算机 络常见的 络设备22720 人正在系统学习中 相关资源:口腔管理软件牙医管家口腔管理软件v3.11.0.16标准版_牙医管家…

声明:本站部分文章及图片源自用户投稿,如本站任何资料有侵权请您尽早请联系jinwei@zod.com.cn进行处理,非常感谢!

上一篇 2021年5月20日
下一篇 2021年5月20日

相关推荐