计算机软件硬件的销售,一种计算机软硬件销售装置的制作方法

c0ae6b6f723c795d8e920ca368118fd7.gif

本实用新型涉及计算机软硬件销售领域,具体为一种计算机软硬件销售装置。

背景技术:

计算机在当代人们的生活和工作中成为了不可或缺的物品,同时随着信息的普及,越来越多的选择自己组装计算机,因此只需要购买硬件组装即可,为了便于人们的需要,出现了售卖机,为需要的人们提供帮助。

现有的售卖机不能进行较多的货物储存,需要经常补货,增加了工作人员的劳动量,为了增长补货期,降低工作人员的工作量;因此市场急需研制一种计算机软硬件销售装置来帮助人们解决现有的问题。

技术实现要素:

本实用新型的目的在于提供一种计算机软硬件销售装置,以解决上述背景技术中现有的售卖机不能进行较多的货物储存,需要经常补货,增加了工作人员的劳动量的问题。

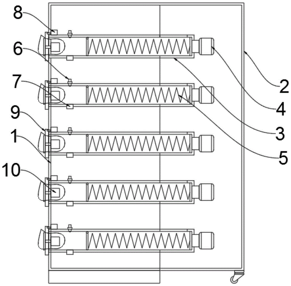
为实现上述目的,本实用新型提供如下技术方案:一种计算机软硬件销售装置,包括销售柜,所述销售柜的内部设置有多个置料仓,所述置料仓的一端固定安装有电机,所述电机的旋转轴一端固定连接有转盘,且转盘的一端外表面上固定连接有送料螺旋杆,所述送料螺旋杆的内部设置有置料仓的内部,所述置料仓的外表面上设置有红外线灯,所述红外线灯的一端设置有光控开关,所述光控开关固定在置料仓的外表面上,且红外线灯的红外光穿过置料仓的内部照射在光控开关上,所述置料仓的外表面上设置有保险开关的插座,所述置料仓的一端设置有仓门,所述仓门的一侧外表面上设置有保险开关的插头,所述保险开关、光控开关、电机串联连接。

优选的,所述销售柜的一侧外表面上设置有售卖处理机,所述售卖处理机的内部设置有处理器,所述处理器的输出端与显示屏的接收端连接,且显示屏位于售卖处理机的一侧外表面上,所述显示屏的下方设置有两个usb接口,且usb接口的接收端和输出端分别与处理器的输出和接收端连接,所述usb接口的下方设置有按键,所述按键的接收端和输出端分别与处理器的输出和接收端连接,所述售卖处理机的内部设置有储存硬盘、移动支付器、信 收发器,所述储存硬盘的接收端和输出端分别与处理器的输出和接收端连接,所述移动支付器的接收端和输出端分别与处理器的输出和接收端连接,所述信 收发器的接收端和输出端分别与处理器的输出和接收端连接,所述处理器的接收端和输出端分别与电控锁的输出和接收端连接,所述电控锁固定安装在仓门的外表面上。

优选的,所述按键包含有软件按钮、硬件按钮、选择键。

优选的,所述销售柜的一侧设置有销售柜后盖,所述销售柜后盖与销售柜通过铰链连接,所述销售柜的底端外表面上固定安装有橡胶块,所述仓门的外表面上设置有观察窗口,所述观察窗口处卡扣有钢化玻璃。

优选的,所述销售柜后盖的底端外表面上固定安装有两个万向轮。

与现有技术相比,本实用新型的有益效果是:

1、该实用新型通过在销售柜的内部设置多个置料仓,置料仓的一端固定安装有电机,电机的旋转轴一端固定连接有转盘,且转盘的一端外表面上固定连接有送料螺旋杆,送料螺旋杆的内部设置有置料仓的内部,置料仓的外表面上设置有红外线灯,红外线灯的一端设置有光控开关,光控开关固定在置料仓的外表面上,且红外线灯的红外光穿过置料仓的内部照射在光控开关上,置料仓的外表面上设置有保险开关的插座,置料仓的一端设置有仓门,仓门的一侧外表面上设置有保险开关的插头,保险开关、光控开关、电机串联连接,此举可以使得购买者在取走货物,并关闭仓门后电机才会启动,通过送料螺旋杆的转动将储备货物移动至光控开关的上方,能有效的进行自动上料,同时结构简单,可以进行长期的储货,并能有效的避免丢货的现象,增长了补货的周期。

附图说明

图1为本实用新型的销售柜内部结构图;

图2为本实用新型的主视图;

图3为本实用新型的售卖处理机工作流程图;

图4为本实用新型的按键内部结构图。

图中:1、销售柜;2、销售柜后盖;3、置料仓;4、电机;5、送料螺旋杆;6、红外线灯;7、光控开关;8、保险开关;9、仓门;10、电控锁;11、观察窗口;12、售卖处理机;13、显示屏;14、按键;15、usb接口;16、软件按钮;17、硬件按钮;18、处理器;19、移动支付器;20、储存硬盘;21、信 收发器;22、选择键。

具体实施方式

下面将结合本实用新型实施例中的附图,对本实用新型实施例中的技术方案进行清楚、完整地描述,显然,所描述的实施例仅仅是本实用新型一部分实施例,而不是全部的实施例。

请参阅图1-4,本实用新型提供的一种实施例:一种计算机软硬件销售装置,包括销售柜1,销售柜1的内部设置有多个置料仓3,置料仓3的一端固定安装有电机4,电机4的旋转轴一端固定连接有转盘,且转盘的一端外表面上固定连接有送料螺旋杆5,送料螺旋杆5的内部设置有置料仓3的内部,置料仓3的外表面上设置有红外线灯6,红外线灯6的一端设置有光控开关7,光控开关7固定在置料仓3的外表面上,且红外线灯6的红外光穿过置料仓3的内部照射在光控开关7上,置料仓3的外表面上设置有保险开关8的插座,置料仓3的一端设置有仓门9,仓门9的一侧外表面上设置有保险开关8的插头,保险开关8、光控开关7、电机4串联连接,此举可以使得购买者在取走货物,并关闭仓门9后电机4才会启动,通过送料螺旋杆5的转动将储备货物移动至光控开关7的上方,能有效的进行自动上料,同时结构简单,可以进行长期的储货,并能有效的避免丢货的现象,增长了补货的周期。

进一步,销售柜1的一侧外表面上设置有售卖处理机12,售卖处理机12的内部设置有处理器18,处理器18的输出端与显示屏13的接收端连接,且显示屏13位于售卖处理机12的一侧外表面上,显示屏13的下方设置有两个usb接口15,且usb接口15的接收端和输出端分别与处理器18的输出和接收端连接,usb接口15的下方设置有按键14,按键14的接收端和输出端分别与处理器18的输出和接收端连接,售卖处理机12的内部设置有储存硬盘20、移动支付器19、信 收发器21,储存硬盘20的接收端和输出端分别与处理器18的输出和接收端连接,移动支付器19的接收端和输出端分别与处理器18的输出和接收端连接,信 收发器21的接收端和输出端分别与处理器18的输出和接收端连接,处理器18的接收端和输出端分别与电控锁10的输出和接收端连接,电控锁10固定安装在仓门9的外表面上。

进一步,按键14包含有软件按钮16、硬件按钮17、选择键22。

进一步,销售柜1的一侧设置有销售柜后盖2,销售柜后盖2与销售柜1通过铰链连接,销售柜1的底端外表面上固定安装有橡胶块,仓门9的外表面上设置有观察窗口11,观察窗口11处卡扣有钢化玻璃。

进一步,销售柜后盖2的底端外表面上固定安装有两个万向轮。

工作原理:使用时,先将该销售装置摆放在指定的位置处,然后接通电源,并打开销售柜后盖2,将需要售卖的硬件通过置料仓3外表面上的通孔放置在送料螺旋杆5之间,然后将需要售卖的软件储存在储存硬盘20的内部,当售卖时,购物者通过按键14内的软件按钮16和硬件按钮17选择需要购买软件或硬件,当购买硬件时,通过选择键22选择购买的硬件,此时处理器18接收到信息,接着根据接收的信息筛选出价格,并传递至移动支付器19上,此时移动支付器19显示收款码,并传递给处理器18,处理器18再将收款码显示在显示屏13上,此时购买者进行付款,当付款完成后移动支付器19将信 传递至处理器18的内部,处理器18控制电控锁10打开,此时购买者可以打开仓门9取出物品,当仓门9打开时保险开关8断开,接着取出商品,此时没有商品的遮挡,光控开关7接收到红外线灯6的照射,此时光控开关7通电,当仓门9关闭时,保险开关8闭合,此时电机4通电并使得送料螺旋杆5转动,在送料螺旋杆5的转动下储存的商品置于光控开关7的上方,此时光控开关7接收不到光线断开,因此电机4断电停车,自动上料完成,当购买者选择购买软件时,先将外部设备连接在usb接口15上,然后通过选择键22选择需要购买的软件,选择完毕后,处理器18、移动支付器19完成收款操作,收款后软件解锁,可以对其进行复制。

对于本领域技术人员而言,显然本实用新型不限于上述示范性实施例的细节,而且在不背离本实用新型的精神或基本特征的情况下,能够以其他的具体形式实现本实用新型。因此,无论从哪一点来看,均应将实施例看作是示范性的,而且是非限制性的,本实用新型的范围由所附权利要求而不是上述说明限定,因此旨在将落在权利要求的等同要件的含义和范围内的所有变化囊括在本实用新型内。不应将权利要求中的任何附图标记视为限制所涉及的权利要求。

相关资源:欧德克连杆仿真设计软件Linkage_linkage软件-其它工具类资源-CSDN…

声明:本站部分文章及图片源自用户投稿,如本站任何资料有侵权请您尽早请联系jinwei@zod.com.cn进行处理,非常感谢!

上一篇 2021年6月4日
下一篇 2021年6月4日

相关推荐